Viewing the FP34 Report
The FP34 report displays a detailed breakdown of the Total Reimbursement (see note below) you should expect based on the values claimed over the selected date range. The report captures Drug and Appliance costs, Prescription Fees, charges collected from patients, your prescription totals data and provides a summary of your expensive items.
The new FP34 report includes EPS prescriptions claimed up till the 5th of the month. The calculations are handled by Pharmacy Manager, therefore if you were to run a report from the 1st of the month till the last day of the month you can be confident that any claimed EPS prescriptions claimed within the 5 day window will be included in the total.
Determination is made as to whether a prescription should be counted in the current month's figures or next month's figures.
Scenario 1
If the prescription was dispensed (D), notified (N) and claimed (C) in the current month, then the prescription will be included in the figures for the current month.
Scenario 2
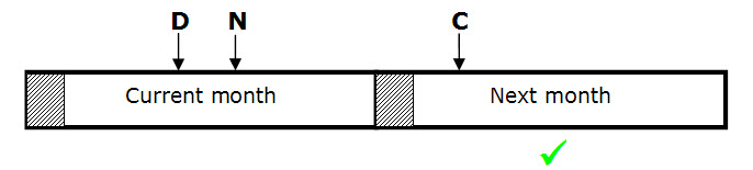
If the prescription was claimed (C) in the next month before the cut-off point (day five), but was notified (N) in the current month, the prescription will be included in the figures for the current month.
Scenario 3
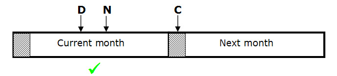
If the prescription was dispensed (D) in the current month, but claimed in the next month but before the cut-off point, but the notification (N) was not carried out in the current month, then the prescription will be included in the figures for the next month. It will not be included in the current month's figures.
Scenario 4
If the prescription was claimed (C) in the next month but after the cut-off point, the prescription will be included in the next month's figures regardless of when it was notified and therefore will be ignored for the current month's figures.
Whether to count against the old charge rate or new
When the NHS introduce a new prescription charge rate there may be occasions where a prescription that is included in the counts for the current month will be charged at the previous month’s rate. In the examples below the charge rate changed on the 1st of April.
The following scenarios may exist, overlapping the period when there is an NHS charge increase:
-
A prescription is dispensed (D) in March but notified (N) and claimed (C) in first five days of April will be included in the April payment at the old rate:
-
A prescription is dispensed (D) and notified (N) in March but claimed (C) in April after the first five days will be included in the April payment at the old rate:
When the figures are to be included in April’s counts but the prescription was dispensed in March the figures will be added up against the old NHS charge counts.
In this situation there will be two sets of prescription form and item counts where a charge was made to the patient indicating how many of them were from the old rate and how many of them were from the new NHS charge.
New Charge Rate
Prescriptions that are dispensed (D), notified (N) and Claimed (C) in April will be included in the April payment at the new rate:
Viewing the FP34 Report
To view the FP34 report:
-
Set the date range to the month that you wish to view.
-
From the Reimbursements screen select VIEW FP34 REPORT
:
-
The Create FP34 Report screen displays:
-
Set the From Date and To Date as required.
Note - The FP34 report automatically includes prescriptions notified before the last day of the month and claimed inside the EPS 5 day window.Note - If you select a date range over multiple months you will get a report for each month in the same output. -
Select VIEW FP34 REPORT
to view the report.The VIEW FP34 REPORT button on the Reimbursements screen displays as:
-
- Report is loading -
- Report has loaded -
- Report has failed to load
-
-
The Print Preview screen displays the FP34 Report as a PDF:
Disclaimer - The FP34 values are calculated using the EPS items claimed for and the paper prescriptions labelled within Pharmacy Manager over the set date range. -
From the menu you can either:
-
- Download the PDF to a file location. -
- Print the PDF.
-
-
Select
to close the Print Preview screen.